резцы REISHAUER

РЕЗЦЫ АЛМАЗНЫЕ ДЛЯ ПРОФИЛИРОВАНИЯ ЧЕРВЯЧНЫХ ШЛИФОВАЛЬНЫХ КРУГОВ

   Основное назначение: правка червячных шлифовальных кругов на зубошлифовальных станках типа (Рейсхауэр).

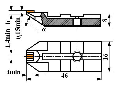
Исполнение 1

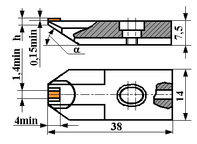
Исполнение 2

Резцы для профилирования кругов при обработке зубчатых колес-5-й и выше степени точности o:p> Резцы для профилирования кругов при обработке зубчатых колес 6-й и 7-й степени точности   h ,мм α Модуль червячного круга, мм
Исп.1 Исп.2 Исп.1 Исп.2
Обозначение резцов
3908-0011 3908-0012 3908-0021 3908-0022 0,3 28 От 0,4 до 0,5
3908-0013 3908-0014 3908-0023 3908-0024 0,5 32 Св 0,5 до 1,0
3908-0015 3908-0016 3908-0025 3908-0026 Св 1,0 до 2,5
3908-0017 3908-0018 3908-0027 3908-0028 1,0 Св 2,5 до 5,0
3908-0019 3908-0020 3908-0029 3908-0030 1,3 35 Св 5,0 до 8 ,0

   Изготавливаются из природных алмазов (масса алмаза 0,31-1,10 карат ) и сверхтвердого композиционного материала (Компакс) производства фирмы (General Electric).